- Retour sous 30 jours
- Achat 100% Sécurisé
- Garantie de 5 ans
- 4.174 avis, avec une évaluation de 8.9
GROHE Start Flow mitigeur de baignoire avec inverseur et raccords chrome
Grohe start flow Mitigeur baignoire
De 09:00 à 18:00
Adresse de notre représentant
10 Rue du Houblon - Zl de la Pilaterie59700 Marcq-en-Baroeul France
13 500 m2 de produits sanitaires
GROHE Start Flow mitigeur de baignoire avec inverseur et raccords chrome
Transformez votre salle de bains en un lieu où le confort et le style se rejoignent. Ce mitigeur de baignoire avec inverseur et raccords élève votre expérience quotidienne du bain et de la douche à un niveau supérieur. Grâce à son design épuré et fluide, chaque contact paraît naturel et souple, tandis que la finition chromée offre une brillance intemporelle qui dure des années. Le robinet est conçu pour un montage mural et s’intègre parfaitement dans les salles de bains modernes où fonctionnalité et esthétique vont de pair. Avec une fonction intelligente d’économie d’eau, vous profitez non seulement d’une sensation de luxe, mais vous contribuez également à un mode de vie durable. La commande est simple et intuitive, ce qui vous permet de passer sans effort de la baignoire à la douche. Ainsi, chaque matin et chaque soir deviennent un moment de détente et de facilité.Élégant
Ce mitigeur se distingue immédiatement par son apparence raffinée et moderne. La couche de chrome brillante assure un look frais et intemporel qui s’harmonise facilement avec différents styles de salle de bains. Grâce à son design subtil et fluide, votre salle de bains devient un véritable accroche-regard. Le caractère minimaliste du robinet fait qu’il n’est pas seulement beau à voir, mais aussi facile à combiner avec d’autres accessoires de salle de bains. Vous créez ainsi un espace harmonieux et élégant dans lequel vous aimez passer du temps chaque jour.Durable
Grâce à la finition chromée de haute qualité GROHE Long-Life, le robinet reste brillant et résistant aux rayures pendant de nombreuses années. L’intérieur est équipé d’une cartouche céramique qui assure une commande souple et précise sans fuites. De plus, le robinet est doté d’un limiteur de débit réglable, qui vous permet d’économiser l’eau sans sacrifier le confort. Cela rend le mitigeur non seulement écologique, mais également économique à long terme. Vous investissez ainsi dans un produit qui enrichit durablement votre salle de bains.Fonctionnel
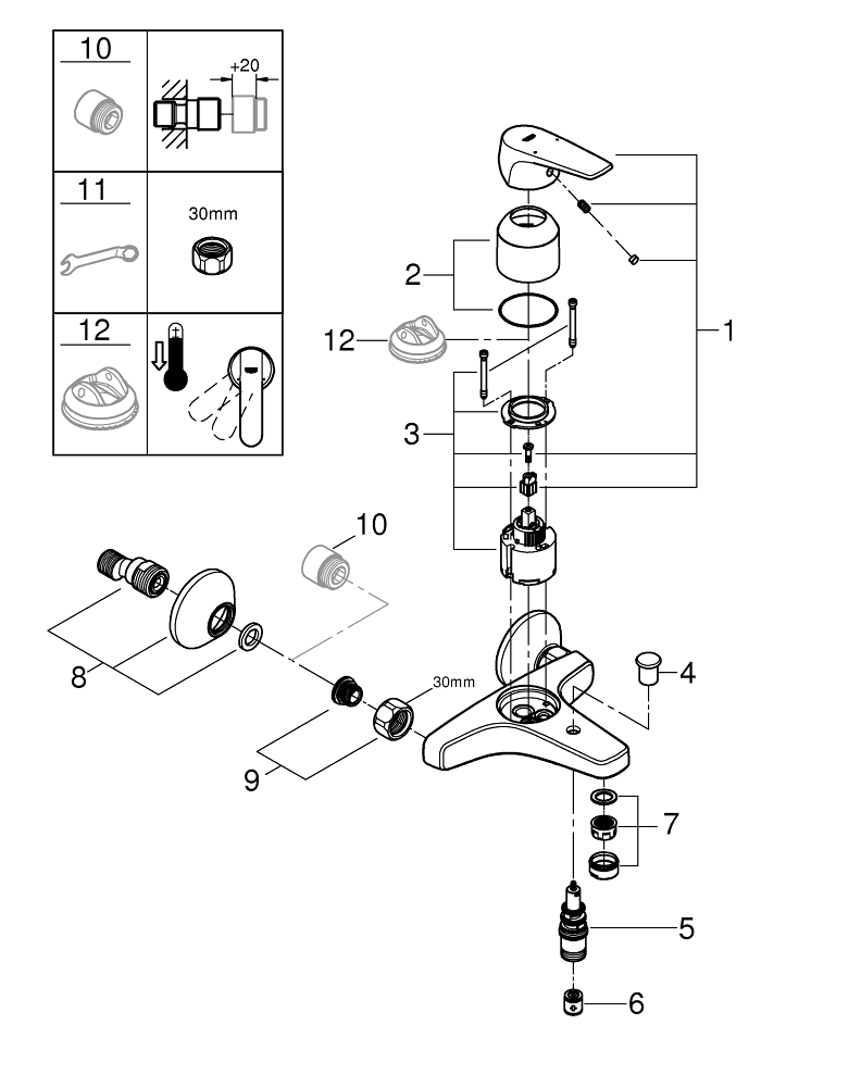
La commande de ce robinet est simple et conviviale grâce à la poignée métallique robuste. Avec l’inverseur automatique, vous passez sans effort de la baignoire à la douche, ce qui augmente considérablement le confort d’utilisation. Le clapet anti-retour intégré évite tout retour d’eau indésirable, ce qui améliore la sécurité et l’hygiène dans votre salle de bains. De plus, les raccords en S fournis et la clé QuickSpanner assurent une installation rapide et sans problème. Vous profitez ainsi rapidement d’une solution fiable et pratique qui répond parfaitement à vos attentes.Caractéristiques :
- Montage mural pour une installation élégante et peu encombrante
- Poignée métallique pour une commande durable et robuste
- Cartouche céramique GROHE Long-Life 46 mm pour un réglage souple et précis
- Limiteur de débit réglable pour économiser l’eau et réduire les coûts
- Inverseur bain/douche pour un confort d’utilisation optimal
- Bec avec mousseur pour un jet d’eau doux
- Clapet anti-retour intégré pour éviter le retour d’eau
- Raccords en S et rosaces murales en métal pour un montage simple et sûr
- QuickSpanner inclus pour une installation rapide
- Finition chromée durable GROHE Long-Life, facile à nettoyer
| Numéro d'article | SW206995 | |
| Numéro de fournisseur | 23772000 | |
| EAN | 4005176388699 | |
| Marque | Grohe | |
| Série | Start flow |
Données techniques
| Dimensions | Hoh=15 cm | |
| Montage | Mural | |
| Entraxe | 15 cm | |
| Saillie de robinet | 16.7 cm | |
| Endroit sortie | Vers le fond | |
| Mécanisme de fermeture | cartouche en céramique | |
| Nombre de fonctions | 2 voies |
Données d'article
Caractéristiques
Plus d'informations
| Garantie | 5 ans |
Autres spécifications
| Matériau robinet | Laiton |
![]() |
Qualité, technologie, design et respect de l'environnement. Ces 4 valeurs illustrent notre engagement à créer des produits d'exception. Notre niveau d'exigence est très élevé afin qu'à chaque fois que vous utilisez un mitigeur lavabo ou une douchette GROHE vous sentiez la différence. GROHE livre tous ces produits avec un sceau de qualité exceptionnel. Toutes les parties du produit ont subies des essais d'endurance et elles ont passé les tests avec la mention excellent avant qu'elles quittent l'usine. |
La garantie de GROHE
Des matériaux de qualité supérieure, un processus industriel de pointe en combinaison avec des techniques avancées, assurera de nombreuses années de service fiable. Ceci se reflète dans la garantie de fabrication de 5 ans. GROHE tient sa promesse et vous offre un produit de première qualité.
Livraison
Dans votre panier, vous pouvez voir la date de livraison prévue du total de la commande. Vous pouvez choisir un jour de livraison qui vous convient.
Il est toujours possible que le produit que vous avez commandé ne répond pas à vos demandes. Sawiday vous offre le service d’échanger un article non utilisé endéans les 30 jours s'il est gardé dans l’emballage d’origine. Vous ne payez pas de frais de retour si vous retournez votre produit dans un de nos showrooms. Vous serez remboursé dans 15 jours après la date de retour.
